miliamperios.com

Bootstrap Framework 3.3.6

Más de una docena de componentes reutilizables construidos para proporcionar iconografía, menús desplegables, grupos de entrada, navegación, alertas, y mucho más ...

Fundado el 18 de marzo del 2003.

Moderador: Moderadores

Por RiverPlane
#197369
Hola
Me regalaron un OS MAX 10 sin uso y quiero montarlo sobre las alas de mi Gentle Lady. Me gustaria saber de donde sacar planos de una bancada que se pueda montar y desmontar sobre el ala de mi GL.

Es mi primer motor a glow, vuelo electricos y planeadores, la verdad que mucha idea no tengo. Compre un tanque de 2oz y un juego de tornillos ya que estaban medio maltrechos y una helice de 7x4. El motor no tiene acelerador, la idea es usarlo con poco combustible para que suba y ahi bajar el planeador.

Cualquier comentario se agradece

Alex
Avatar de Usuario
Por OscarO
#197378
si el motor no tiene acelerador meda que es o de vuelo circular o un cox. yo a un velero le pondria ne vez de ese motor un electrico ya que una vez que se pare creo qu ete quedara un peso muerto que se podria evitar. con un motor electrico al menos puedes usarlo para volver a subir. en cuanto a la bancada yo he visto unos soportes que no son mas que una varilla con una s maderas arriba donde atornillar el motor y se pliega dentro del modelo.
Por RiverPlane
#197391
Si, el motor es para vuelo circular. Es lo que tengo y quiero montarlo asi.
La bancada que me refiero es para montar sobre el ala, ya que la tengo armada y no quisiera hacer otra.
Gracias
Avatar de Usuario
Por jose antonio sanchez
#197396
Eso es lo que se utilizaba antiguamente opara subir los veleros, es un metodo anticuado aunque totalmente valido, el peso es poquisimo, podras subir un velero de dos metros sin ningun problema aunque no como un cuete claro.

De combustible con hacer pruebas parte con 50cc y luego opinas a ver si necesitas mas o menos.

el inventillo es muy muy sencillo, lo que no se si habra algun plano, lo normal es que lo cojas con gomas encima del ala con lo que tendras que hacer una base con la forma del perfil, de un ancho superior al del fuselaje, para asi cojerla con gomas cruzadas, hacer una vertical de contrachapado, y poner el motor a 90º

Dibujo rapido :lol:
Adjuntos
Dibujo 2.JPG
Dibujo.JPG
Por RiverPlane
#197416
Exactamente, esa es la idea.
Pienso en hacerla en ply o terciada (no se como llaman a esa madera en España); la base, como tu dices, debe seguir el perfil del ala y quizas una base con espuma por las vibraciones; todo el conjunto va con gomas cruzadas.

Gracias por el bosquejo José, sigo buscando
Por Nicolas-v
#197437
Justo como te explica José Antonio fue lo que le hice a mi velero Escuela de Modelhob y con un 15 de OS aprendi a volar. Hace ya ......... años.

Quizas con el 15 iba un poco sobrado pero yo lo regulaba un poco graso para reducir algo las revoluciones ya que tambien era de vuelo circular y no tenia carburador de R.C.

A mi me fue muy bien y te animo a que lo hagas. Te va a gustar.

Saludos.
Por JQA
#197487
Una pregunta. ¿El ala es de una pieza o es partida?. Porque si es partida existe una opción mucho mejor que la de sujetarlo con gomas. En la pieza donde va sujeta la bancada del motor, en vez de apoyarla sobre una plataforma haz que en su parte inferior tenga la forma del perfil alar. Así se pone entre las dos semialas como si fuese una costilla más atravesada por sus bayonetas. Queda mucho más rígido y seguro.
Por Nofre Vidal
#197629
buenas, yo usaba esta :wink: a ver si te sirve de idea.
Adjuntos
sistema  para remolcar velero 008.jpg
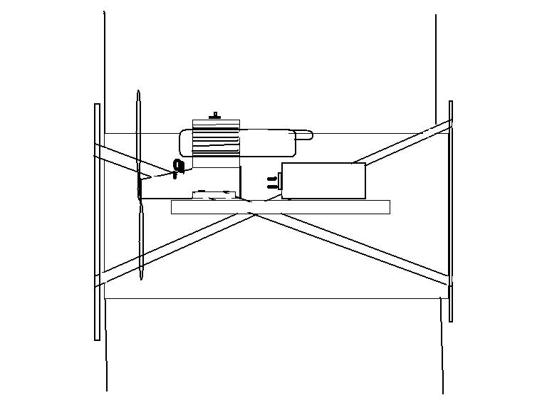
Por J.Puente
#197766
No tengo planos, pero te pongo un par de fotos de una bancada mía de hace muchos años, para que te hagas una idea, la construcción no es nada dificil. Lo más importante es hacerla lo suficientemente alta para que la hélice no roce en el fuse.

Un saludo
Puente

¡Por favor! No repitas el mismo post en distintos foros.
Por RiverPlane
#197786
Buenisimas las fotos, pero son para ala "partida". La mia es entera, por lo tanto requiero algo que se apoye sobre el ala.

La AeroBarbie esta increible! Penelope Glamour con alas!!! :D :D


Saludos, Alex
Por RiverPlane
#197792
Puente, veo en tus fotos que la salida de combustible del tanque esta por debajo de la toma del motor, ¿eso esta bien? Además, por debajo del tanque cuelga una aleta que parece ser parte de la estructura de la bancada ¿para qué es? ¿Cómo fijaste el motor y el tanque al soporte?

Gracias
Por J.Puente
#198130
Ese tanque de plástico, en su día, era comercial (creo recordar que de Robbe). La toma de combustible esta por debajo porqué no llevaba "péndulo", y nunca tuve problemas de motor.

Esa aleta que cuelga por debajo es para poderlo fijar a otro tipo de bancada, es un depósito "polivalente". Al mismo tiempo lleva también una pequeña bancada, que es en la que se ha fijado el motor conjuntamente a las de aluminio.

Un saludo
Puente

¡Elija que Addons deben funcionar, utilice sólo lo que realmente necesita!